Become a Distributor
Distributor Login
EN
|
FR
Home
About Us
Products
Replacement Parts
Recycling
SDS
Contact
Distributor Login
My Quote
fire SAFETY
EQUIPMENT
Home
>
Replacement Parts
>
Parts for Dry Chemical Extinguishers
Share
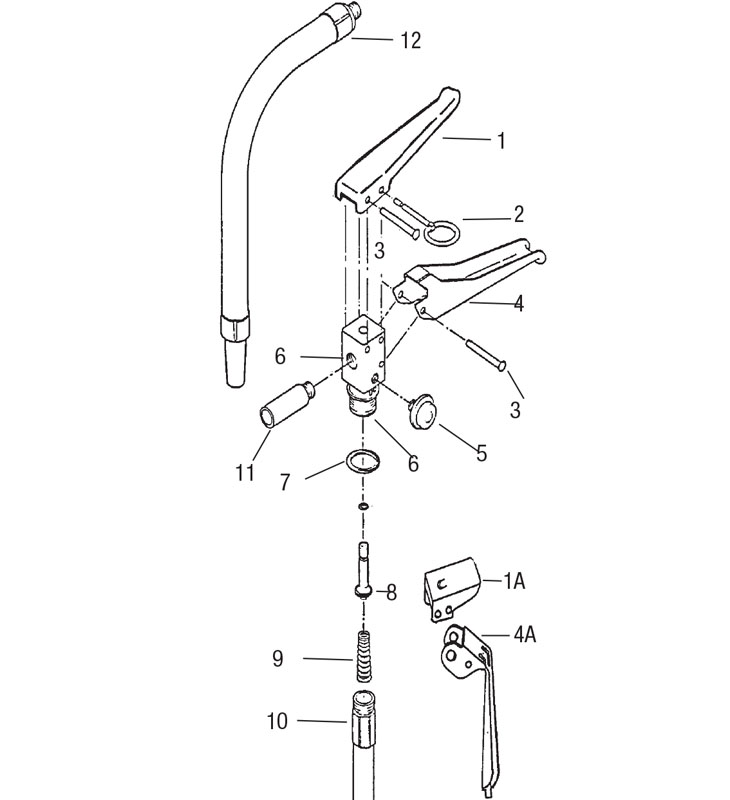
Strike First Dry Chemical 5 - 30 lb. Large Valve 1.125"
ITEM NO.
SKU
PART NAME
1
C160414
Top Lever (All Diamond, 20 lb Strike First) (Black Steel)
— add to quote —
1
SF160417
Top Lever - All (Stainless Steel)
— add to quote —
2
SF755651
Red Plastic Strike Pull Pin
— add to quote —
2
DSP
Diamond Single Point Pin (Steel)
— add to quote —
3
RV80
Diamond & Strike First Lever/Handle (162803), Pkg/10
— add to quote —
4
C160398
Carry Handle - All (Stainless Steel)
— add to quote —
4
C160395
Carry Handle (Diamond), 5 - 30 lb (Black Steel)
— add to quote —
5
G235
235 lb Dry Chemical Gauge
— add to quote —
6
C160688
Valve Body - All
— add to quote —
7
OR118
Diamond (161345), General (33178), Pkg/10
— add to quote —
8
C161428
Strike First Valve Stem Assembly, 2-1/8” L
— add to quote —
9
C161230
Spring - All
— add to quote —
10
C163549S
Syphon Tube 20 lb ABC, BC (Steel)
— add to quote —
10
C163549
Syphon Tube 20 lb (Diamond) (Plastic)
— add to quote —
12
C162276
Hose Assembly - (Diamond, SF ABC & BC 10 lb) (BC 20 lb)
— add to quote —
13
C160400
Hose Band - All
— add to quote —
N/S
RA11
Recharge Adapter (Amerex, Ansul, Badger ...)
— add to quote —
N/S
HTABU1
Hydrotest Adapter (Buckeye, All General Older Small Valve)
— add to quote —
N/S
C160791
Diamond Wall Hook, 20 lb Extgrs
— add to quote —
CLOSE
yes
no